2020十大热词出炉,你绝对猜不到第一是啥! 又有哪些被申请商标?
来源:管理机构日期:2020-12-30

2020年已经进入个位数倒计时,在这不寻常的一年里,奇怪的词语似乎又增加了不少呢。
正所谓年年岁岁花相似,岁岁年年“词”不同。此前《青年文摘》在公布2020年度十大热词时,便为这一年发生的所有事情总结为一句顺口溜:“双节棍打工魂,后浪集美尾款人。云监工敬逆行,专业工具网抑云。”

看到没有,在今年的十大热词中,不仅有腾讯公司看好的“打打工人”,还有后浪、双节棍、集美等趣味新词,更有云监工、逆行者等正能量称呼。

小编上周不是发了关于2020媒体十大流行语被抢注为商标的文章么,官方常用的词语都能有商家注册,更何况这种全民玩梗的十大热词?接下来跟着小编一起通过中国商标局官网检索,看看有哪些词语被注册为商标了。
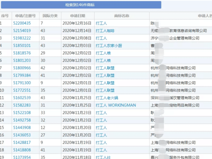
一、打工人

职场人的自称,无论蓝领白领,还是明星网红,都在自称打工人。这个词语是一种黑色幽默,也是成年人在职场竞争和生活重担双重压力下的强烈共鸣。
截至目前,总共有146件与“打工人”相关的商标注册申请。

由于“打工人”的梗是在2020年开始流行起来的,因此今年最早申请注册相关“打工人”商标的是位于陕西的一家知识产权代理机构,申请时间为2020年10月23日,国际分类为第45类社会服务,目前该商标正处于待实质审查的状态中。
才火起来的梗,居然这么早就下手了!也难怪我们只是普普通通的打工人,毕竟打工人追的是潮流,而有钱人追的是热点营销。

二、尾款人

是指付完定金欠下尾款的人。尾款人疯狂抢货不是因为有钱,他们认为现在不买以后更贵,拼单凑满减、提前付定金都是为了省钱。尾款人和打工人,几乎是同一批年轻人。打工人的内核是苦中作乐,而尾款人则是买中带泪。
截至目前共有11件“尾款人”商标注册信息,由于是一个月前才申请的,因此还处于待实质审查状态。

说起来,这不是即将要跨年了么,等过完元旦就该过春节了,那么你欠下的“尾款”都还清了没?如果有能力,最好在大年三十前就把一身债都还完,这样还能和家人一起高高兴兴过个好年。
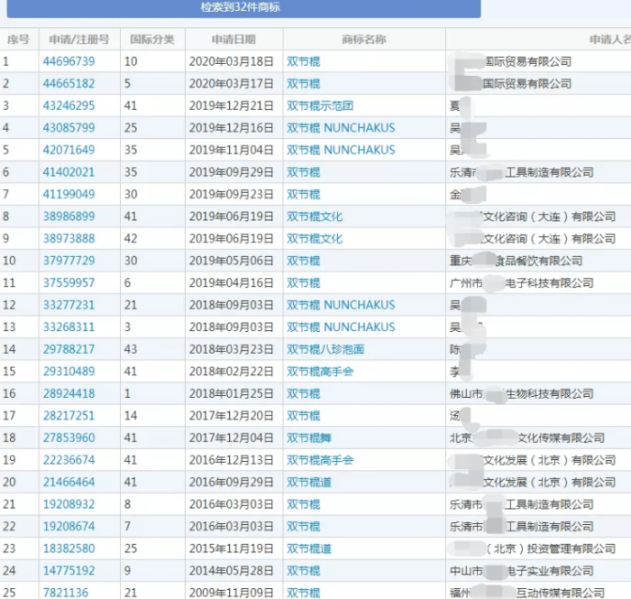
三、双节棍

年轻人的单身亚文化
2020年国庆中秋双节同庆,网上流传着一个段子,过完双节还是光棍就叫“双节棍”。巧合的是,脱胎于“光棍节”的天猫“双十一”今年也变成了“双节棍”(分两波售卖)。这让双节棍一词再度走红,并被延伸为“过两个‘双十一’还是单身的人”。从光棍到“双节棍”,单身的表达越来越含蓄,形成了独特的亚文化。
目前有总共32件“双节棍”商标注册记录,虽说这个热词是今年才火起来的,但它却已经在2004年作为商标被人注册了。只是过去这么长时间,最早注册的“双节棍”已处于无效状态,这或许是申请人没有及时办理商标续展的缘故。
当然,在稍微晚一些的时间里,有的“双节棍”商标遭遇驳回申请,但也有的则已经注册成功。

四、后浪

拒绝被定义的当代年轻人
五四青年节前夕,B站邀请了著名演员何冰寄语年轻一代:“你们有幸遇见这样的时代,但时代更有幸遇见这样的你们。”一石激起千层浪:有的青年认为少部分人的优越并不代表他们;有的青年不需要中年人代表他们发声,也不想被定义。后浪该如何定义仍然悬而未决,可能在每一位青年的一言一行中。
自B站发布了一个“献给新一代的演讲”——《后浪》火遍全网之后,元气森林便火速注册了“后浪”商标。

然而后浪这个词也不是从B站视频火起来后才流行的热词,早在宋代便有“长江后浪推前浪,浮事新人换旧人”的诗词,到后来这句话被戏虐为“长江后浪推前浪,一浪更比一浪强”、“长江后浪推前浪,我在沙滩晒太阳”等等说法。
据商标网查询,早在1995年9月27日,温州市一机器阀门厂就申请了第6类“后浪”商标,不过该商标已经因为期满未续展而注销了。截至目前,有426件与“后浪”相关的申请商标。

另外,“后浪”似乎还是企业名称中的热词担当,只要在查询企业的平台中输入关键词搜索,就能看到有上百家带有“后浪”名称的企业,涵盖了各行各业。
这可能是因为“后浪”这个词本身带有的潜力无限、冲劲满满的意境,因此很多企业就算在商标注册上晚了别人一步,也要把“后浪”这个词作为企业名称使用。
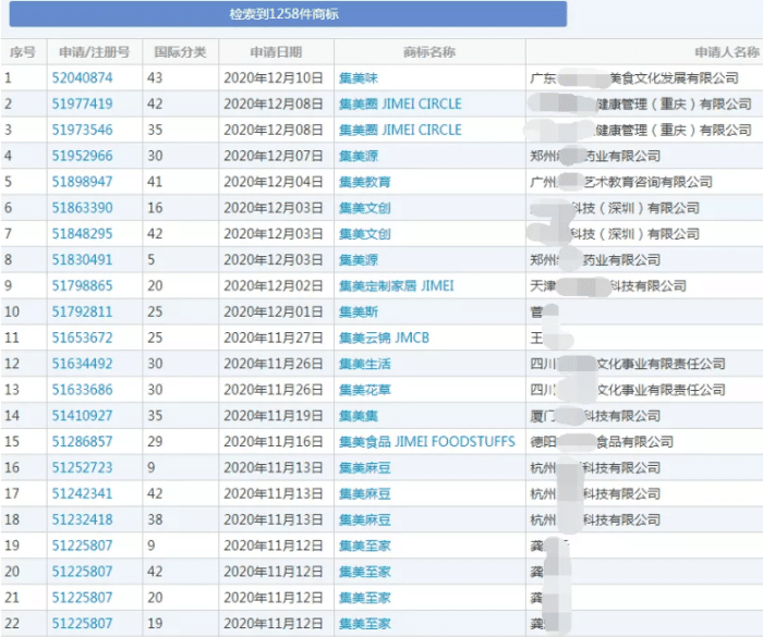
五、集美

逐渐萌化的昵称文化
集美原是厦门市的地名,寓意“集天下之美”。今年因为某快手主播把“姐妹”读成“集美”,由此成为网络热门称呼,打开微博随手一刷就能看到女孩们互称“集美”。还有网友把集美解读为:“集美貌与才华于一身的女子”。“亲”“兄dei”“集美”“小姐姐”……网络上已经诞生了一大批新称呼,有的呈现出方言化,更多的则是逐渐“萌”化。
目前关于“集美”商标的申请记录有1258项,大伙儿可先别吃惊为何会有那么多的人注册此类商标。

六、工具人

被异己需求物化的人格
是指如同工具一般被使唤的人。职场工具人,是公司中的小透明,处事秘笈就是“收到”或“明白”;情场工具人,是女神的千斤顶,连做备胎的资格都没有,低到尘埃任她差遣。工具人的本质是人格被物化,失去了自我被当成工具使用,在当代语境下,“工具人”被泛化到各个领域。如今年轻人自称工具人,是以此来消解自己所面临的无奈,也表达了想摆脱这一尴尬处境的愿望。
目前申请“工具人”商标的仅有12件。除了第43类的“工具人 鸡蛋糕”商标已注册成功外,其余商标不是被驳回就是尚处于待审查状态中。
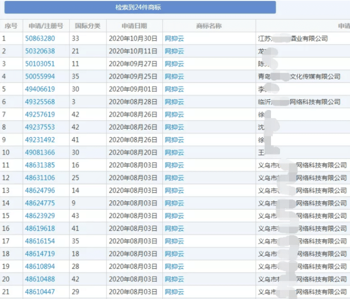
七、网抑云

当丧文化遇上正能量
以热评文化为特色的网易云音乐,因为出现大量消极评论,被网友戏称为“网抑云”。后来有越来越多的网友用正能量回怼“丧文化”,把网抑云变成“网愈云”。
犹记得网易云音乐关联公司杭州网易云音乐科技有限公司在今年9月申请了2项“网愈云”商标,国际分类分别是“41类教育娱乐”和“9类科学仪器”,与其他申请人的商标注册状态一样,均为“注册申请中”。

之所以会注册该商标,是因为网易公司想要扭转自己“网抑云”形象为“网愈云”,并推出了 “云村评论治愈计划”,改善评论区氛围,为一些伤感的人带去实实在在的温暖。

至于“网抑云”商标,将其注册为商标的企业不少,这足以证明网易云音乐在业界的影响力。但蜗牛纳认为商评委可能会驳回此类商标的注册申请,理由大概是“已造成社会不良影响”。毕竟商标应当为企业及社会公众,尤其是为青少年们带去正能量,而非无力颓废的“丧文化”。
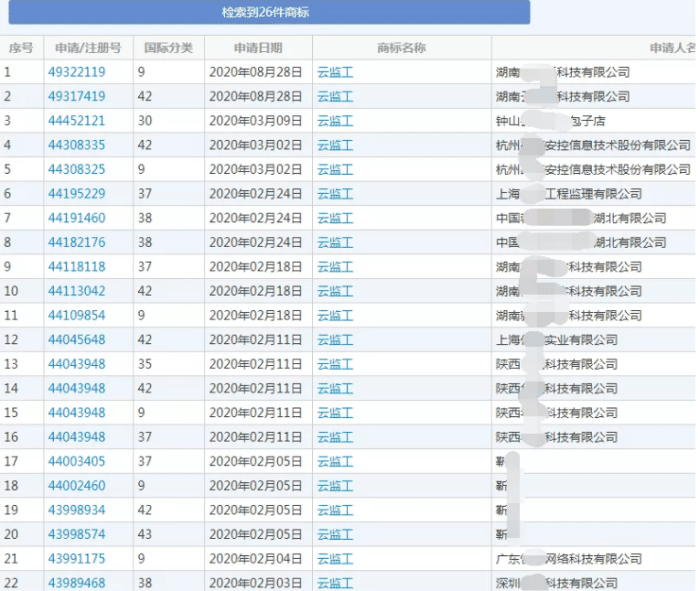
八、云监工

现象级直播下的新身份
疫情期间,超1亿网友看直播“监工”火神山和雷神山医院的建造,见证着攻坚克难的中国速度。这场慢直播还被融入了饭圈文化,网友们纷纷为叉车、铲车、挖掘机起名。无独有偶,今年天猫“双十一”开启的快递直播,也吸引了超1亿人次的“云监工”。与“叉酱”“蓝忘机”因为勤快走红不同,快递机器人“199”因为偷懒而成为网友的重点盯防对象。
目前只有26件“云监工”商标注册信息,且均处于待实质审查状态。

倒是网友们在云监工期间为各类基建工具、运输工具赋予的可爱昵称如“叉酱”、“果丹皮”、“白居易”、“呕泥酱”、“送灰宗”、“多尔衮”等等。经蜗牛纳查询发现,已经有人对这些昵称下手了。比如“叉酱”商标:

其中第39类“叉酱”商标的服务类别倒是与本意相符合,当然,有的企业甚至也没忘记注册了35类电子商务核心类别。
九、逆行者

和平年代的英雄楷模
当别人在设法逃离疫区的时候,他们逆向而行:不问归期、不惧凶险、不计报酬、无论生死!他们冒着生命危险从死神手里抢人,是这个时代当之无愧的“侠之大者”。逆行者,不止是抗疫的医护人员,也是救火的消防员、是抗洪的战士、是抗震的志愿者……是英雄们的总称。在中华民族伟大复兴的路上,这种“逆行”精神将被永远传递。
“逆行者”商标注册信息还挺不少的呢,截至目前共有238件。

小编注意到注册该商标的最早时间是2006年5月22日,国际分类为第25类,其范围包括游泳衣;手套(服装)。

那会大家所认为的“逆行者”应该多指消防队员、军人,毕竟在疫情之前,这些特殊人员就经常逆着老百姓逃生的方向冲进危险区域。
倒不是说医护人员就不是“逆行者”了,只是相对于火难、水患、地震等天灾给百姓带来的冲击更大。
十、专业团队

后疫情时代的生死观
《黑人抬棺》的视频中加纳人肩上抬着棺木鼓掌跺脚,用狂野的舞蹈送别逝者,被中国网友称为“专业团队”。加纳人在葬礼上,更喜欢用欢笑来代替眼泪,这跟庄子在妻子葬礼上“鼓盆而歌”不谋而合。这种生死观,给忌讳谈“死”的国人带来了强烈的精神冲击。
让人有点意外,专业抢注热词商标的团队这次似乎不太专业呢,小编并未在商标局检索平台上搜索到与此相关的商标注册信息。
虽说目前还未显示关于“专业团队”商标的注册申请信息,不过这并不意味着无人申请,或许这个流行热词已经存在于商标申请的盲区之中了。
所谓盲区,一般是指商标查询所使用的商标局官网和专业数据库的数据更新与商标局审查所使用数据更新的时间差。前者落后于后者,所以我们在查询的时候,是查不到未更新期间的在先申请的商标注册信息。
好了,以上就是小编目前搜索到的“2020十大热词”商标信息。

众所周知新的词语组合的出现,必然会有些人从中获取商标名的灵感。毕竟网络热词通常自带流量,具备传播范围广、传播速度快的特性。如果企业懂得借势营销,恰到好处的利用网络热词的力量,不仅推广力度大,而且宣传费用少,对企业起到事半功倍的效果,以至于很多企业或个人热爱将网络热词注册为商标。
虽然说网络热词商标可以在较短的时间内提高商家的知名度,但是网络热词大多含义不够高雅,多半是基于娱乐氛围而产生,若利用网络热词来申请商标的话,在谋取利益的同时,也承担着巨大的风险。
《商标法》第十条规定中提到“有害于社会主义道德风尚或者有其他不良影响的”情形。这种不良影响是对价值观、道德观等不正面形象,影响了社会的良好风气及带来负面影响。
另外《商标法》第十一条第(三)条,缺乏显著性的标志是不予注册为商标的。同时,《商标法》还规定了商标在先原则。
所以,想要将网络热词注册为商标,必须满足以上的三点条件,否则就是白白浪费时间和金钱。

网络用语固然有其幽默风趣的一面,但也并不是想注册的都可以顺利申请下来。在申请注册商标的时候,要注意语言风俗,避免使大众产生不好的联想,否则最终会因为“缺乏显著性”或是对社会“造成不良影响”等理由被商标局驳回,从而导致商标无法注册。
当然,并不是说要禁止对当下热点的追逐,毕竟有些流行热词作为商标使用在市场主体的推广和宣传下,确实能帮助企业发挥出不同寻常的作用来。但大家要知道,这并不是所有人都能成功,因此“点商标中文域名”小编建议大家在申请商标时要理性注册,不要盲目跟风,更不要企图凭借某商标一举获利。与其注册一些有驳回风险的流行热词商标,倒不如回归本质,在自家产品上下功夫。
文章来源:纳杰知识产权、唐唐频道等,“点商标中文域名”综合整理
